功率放大器在電磁軸承系統中的測試應用
電磁軸承是利用可控的電磁力將轉子無接觸地懸浮起來的一種支承元件,在高速旋轉機械領域有著廣泛的應用,在電磁軸承系統中,功率放大器向電磁鐵線圈提供相應的控制電流以產生所需要的電磁力,對系統的特性具有重要的作用。
電磁軸承系統中,功率放大器的作用是把控制器輸出的控制信號轉換為電磁鐵所需要的大電流,從而為電磁軸承懸浮轉子提供功率。Aigtek公司推出的ATA-3090功率放大器,頻率范圍覆蓋DC-100KHz,輸出電流達18A,電壓增益數控0~30倍可調,具體分為粗調(1step)和細調(0.1 step)兩種。
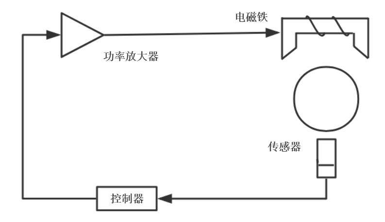
電磁軸承系統是由電磁軸承本體/位移傳感器、控制器和功率放大器組成的。位移傳感器檢測被懸浮轉子的位置狀態,并將位置信息反饋給控制器,控制器根據不同的控制規律產生相應的控制信號,然后通過功率放大器將控制信號轉換為控制電壓或者控制電流,作用于電磁軸承線圈產生懸浮轉子所需的電磁力,使轉子達到穩定的懸浮。
功率放大器是電磁軸承系統中關鍵的一部分,電磁軸承系統的主要損耗由功率放大器產生,而且電子軸承要求工作頻率從零到數千赫茲,ATA-3090是一款理想的可放大交、直流信號的功率放大器。最大輸出810Wp功率,輸出電流18A,可以驅動功率型負載。液晶屏幕顯示,一鍵保存常用設置,提供了方便簡潔的操作選擇,可與主流的信號發生器配套使用,實現信號的完美放大。提供電磁鐵需要的大電流,大功率。

ATA-3090功率放大器的實物圖及性能參數
功率放大器可用于驅動電容性、電感性負載,壓電陶瓷、磁場線圈、超聲換能器,一般情況下,如果用交流電源驅動含有電容器或電感線圈的負載,會導致來自負載一側的逆向電流。在這樣的情況下,用通常的電源的話可能無法驅動。但是如果采用功率放大器來驅動,需要的高電壓、大電流也都可以實現。所以,對于壓電元件和電感線圈那樣的電容性·電感性負載,也能夠穩定地運行(輸出)。
本文素材由西安安泰電子整理發布,如果想了解更多,請持續關注安泰官網m.dzbanwu.cn。西安安泰電子是專業從事功率放大器、高壓放大器、功率信號源、前置微小信號放大器、高精度電壓源、高精度電流源、功率放大器模塊等電子測量儀器研發、生產和銷售的高科技企業。
原文鏈接:http://m.dzbanwu.cn/news/191.html


























